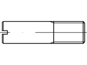
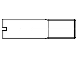
VIS SANS TETE FENDUE FILETAGE PARTIEL DIN 427 INOX A1 M 3 x 8
Prix
36,18 €
/ 100 pièces
Filtrer les résultats
Il y a 2 produits.