Catégorie : Nos produits

Filtrer les résultats

Filtres actifs

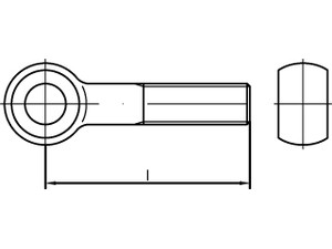
  • Finition: ZINGUE BLANC
  • DIN / ISO: 444
  • Longueur: 120