04 77 60 10 73 469 route de Charlieu - 42460 Cuinzier
Contact
 Connexion
shopping_cart Panier (0)

Certifié LRQA BM Fixations
  •   Nos produits
    •   Vis autotaraudeuse
    •   Fixations bâtiments
    •   Visserie bois
    •   Écrous
    •   Élément levage
    •   Élément mécanique
    •   Vis métrique
    •   Rondelle
    •   Sertisage
    •   Tiges filetées
    •   Vis tole
  • La société
  • Logistique
  • Contact
  • Mon compte
  1. Accueil
  • Nos produits
    • Vis autotaraudeuse
      
      • Plastique
      • Autotaraudeuse pour tole
    • Fixations bâtiments
      
      • Chimique
      • Chevilles
      • Colliers
      • Etrier
      • Vis penture
      • Pointe
    • Visserie bois
      
      • Piton
      • Vis agglo
      • Vis carré
      • Bois preperce
      • Tirefond
      • Vis TRCC
    • Écrous
      
      • Écrou bas
      • Écrou borgne
      • Écrou à créneau
      • Écrou cylindrique
      • Divers
      • Écrou à embase
      • Écrou frein
      • Écrou haut
      • Écrou hexagonal
      • Manchon
      • Écrou sécurité
    • Élément levage
      
      • Anneau
      • Câble
      • Cosse
      • Manille
      • Mousqueton
      • Serre câble
      • Tendeur
    • Élément mécanique
      
      • Articulation
      • Bague
      • Bouchon
      • Bridage
      • Canon
      • Clavette
      • Clé
      • Clou cannelé
      • Embout
      • Goupille
      • Graisseur
      • Insert
      • Manoeuvre
      • Molete
      • Montage
    • Vis métrique
      
      • Vis six pan creux
      • Boulon
      • Vis épaule
      • Vis ferroviaire
      • Vis de forme
      • Vis de lame TP
      • Vis sans tête
      • Vis tête cylindrique
      • Vis TH
    • Rondelle
      
      • Ajustage
      • Bois
      • Cale
      • Conique
      • Cuvette
      • Élastique
      • Étanchéité
      • Éventail
      • Frein
      • Haute résistance
      • Plate
    • Sertisage
      
      • Écrou à sertir
      • Hélicoil
      • Huck
      • Machine et pièce détaché
      • Rivet plein
      • A la prese
      • Rivet
      • Sécurité
    • Tiges filetées
      
      • Ancrage
      • Bout fileté
      • Tige fileté
      • Goujon fileté
      • Tige pas non métrique
      • Tige à soude
    • Vis tole
      
      • Autoperceuse
      • Tole

Catégorie : Nos produits

Filtrer les résultats

Filtrer par

Matière

Matière

  • INOX A4 (5) 
    ACIER (18) INOX A2 (5) LAITON (2)

DIN / ISO

DIN / ISO

  • 444 (5) 
    571 (5) 603 (4) 912 (10) 931 (14) 933 (14) 939 (1) 963 (2) 4014 (14) 4017 (14) 6912 (3) 10642 (6) 15048/4014 (3)

Diamètre

Diamètre

  • (aucun filtre) 
    10,00 (1) 12,00 (1) 16,00 (1) 20,00 (1) 24,00 (1)

Longueur

Longueur

  • 120 (5) 
    30 (2) 35 (2) 40 (3) 45 (3) 50 (4) 55 (3) 60 (5) 65 (2) 70 (5) 75 (2) 80 (6) 90 (6) 100 (6) 110 (5) 130 (4) 140 (3) 150 (4) 160 (3)

Il y a 5 produits.

Trier par :
Ventes, ordre décroissant Pertinence Nom, A à Z Nom, Z à A Prix, croissant Prix, décroissant Reference, A to Z Reference, Z to A
Affichage 1-5 de 5 article(s)

Filtres actifs

  • Matière: INOX A4 
  • DIN / ISO: 444 
  • Longueur: 120 

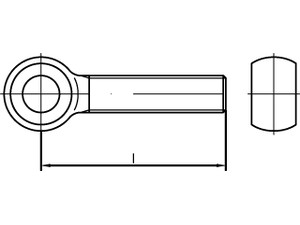
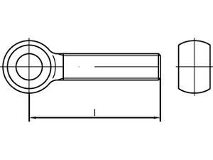
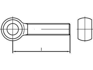
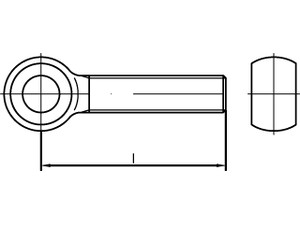
VIS A OEIL DIN 444 FORME B INOX A4 M 10 x 120

Prix 646,87 € / 100 pièces

VIS A OEIL DIN 444 FORME B INOX A4 M 12 x 120

Prix 621,82 € / 100 pièces

VIS A OEIL DIN 444 FORME B INOX A4 M 16 x 120

Prix 1 372,68 € / 100 pièces

VIS A OEIL DIN 444 FORME B INOX A4 M 20 x 120

Prix 2 059,33 € / 100 pièces

VIS A OEIL DIN 444 FORME B INOX A4 M 24 x 120

Prix 3 139,40 € / 100 pièces
Affichage 1-5 de 5 article(s)
Retour en haut 
BM Fixations

04 77 60 10 73

469 route de Charlieu - 42460 Cuinzier

  • Livraison
  • Mentions légales
  • Conditions d'utilisation

Newsletter

Je m'inscris pour recevoir les dernières actualités

© BM Fixations 2020 - www.oz-media.com