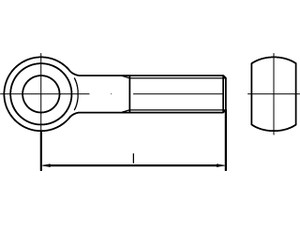
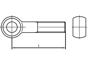
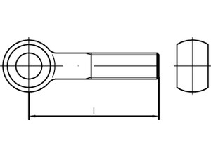
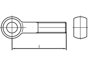
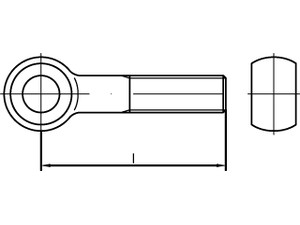
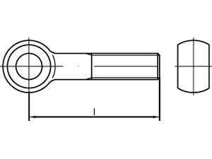
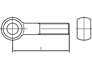
VIS A OEIL DIN 444 FORME B ACIER CL 4.6 BRUT M 12 x 160
Prix
297,37 €
/ 100 pièces
Filtrer les résultats
Il y a 13 produits.