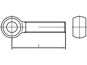
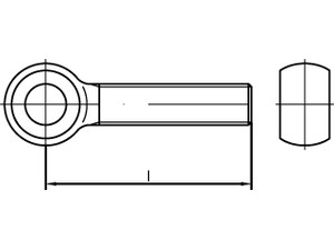
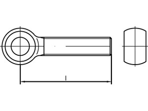
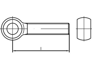
VIS A OEIL DIN 444 FORME B INOX A2 M 10 x 60
Prix
282,55 €
/ 100 pièces
Filtrer les résultats
Il y a 5 produits.