04 77 60 10 73 469 route de Charlieu - 42460 Cuinzier
Contact
 Connexion
shopping_cart Panier (0)

Certifié LRQA BM Fixations
  •   Nos produits
    •   Vis autotaraudeuse
    •   Fixations bâtiments
    •   Visserie bois
    •   Écrous
    •   Élément levage
    •   Élément mécanique
    •   Vis métrique
    •   Rondelle
    •   Sertisage
    •   Tiges filetées
    •   Vis tole
  • La société
  • Logistique
  • Contact
  • Mon compte
  1. Accueil
  • Nos produits
    • Vis autotaraudeuse
      
      • Plastique
      • Autotaraudeuse pour tole
    • Fixations bâtiments
      
      • Chimique
      • Chevilles
      • Colliers
      • Etrier
      • Vis penture
      • Pointe
    • Visserie bois
      
      • Piton
      • Vis agglo
      • Vis carré
      • Bois preperce
      • Tirefond
      • Vis TRCC
    • Écrous
      
      • Écrou bas
      • Écrou borgne
      • Écrou à créneau
      • Écrou cylindrique
      • Divers
      • Écrou à embase
      • Écrou frein
      • Écrou haut
      • Écrou hexagonal
      • Manchon
      • Écrou sécurité
    • Élément levage
      
      • Anneau
      • Câble
      • Cosse
      • Manille
      • Mousqueton
      • Serre câble
      • Tendeur
    • Élément mécanique
      
      • Articulation
      • Bague
      • Bouchon
      • Bridage
      • Canon
      • Clavette
      • Clé
      • Clou cannelé
      • Embout
      • Goupille
      • Graisseur
      • Insert
      • Manoeuvre
      • Molete
      • Montage
    • Vis métrique
      
      • Vis six pan creux
      • Boulon
      • Vis épaule
      • Vis ferroviaire
      • Vis de forme
      • Vis de lame TP
      • Vis sans tête
      • Vis tête cylindrique
      • Vis TH
    • Rondelle
      
      • Ajustage
      • Bois
      • Cale
      • Conique
      • Cuvette
      • Élastique
      • Étanchéité
      • Éventail
      • Frein
      • Haute résistance
      • Plate
    • Sertisage
      
      • Écrou à sertir
      • Hélicoil
      • Huck
      • Machine et pièce détaché
      • Rivet plein
      • A la prese
      • Rivet
      • Sécurité
    • Tiges filetées
      
      • Ancrage
      • Bout fileté
      • Tige fileté
      • Goujon fileté
      • Tige pas non métrique
      • Tige à soude
    • Vis tole
      
      • Autoperceuse
      • Tole

Catégorie : Nos produits

Filtrer les résultats

Filtrer par

Matière

Matière

  • INOX A4 (5) 
    ACIER (12) INOX A2 (5) LAITON (4)

DIN / ISO

DIN / ISO

  • 444 (5) 
    7 (4) 84 (5) 571 (6) 603 (5) 912 (12) 913 (1) 931 (9) 933 (14) 938 (6) 939 (6) 963 (6) 964 (2) 965 (3) 4014 (10) 4017 (14) 6912 (7) 10642 (7) 15048/4014 (3)

Diamètre

Diamètre

  • (aucun filtre) 
    8,00 (1) 10,00 (1) 12,00 (1) 16,00 (1) 20,00 (1)

Longueur

Longueur

  • 70 (5) 
    30 (2) 35 (2) 40 (3) 45 (3) 50 (4) 55 (3) 60 (5) 65 (2) 75 (2) 80 (6) 90 (6) 100 (6) 110 (5) 120 (5) 130 (4) 140 (3) 150 (4) 160 (3)

Il y a 5 produits.

Trier par :
Ventes, ordre décroissant Pertinence Nom, A à Z Nom, Z à A Prix, croissant Prix, décroissant Reference, A to Z Reference, Z to A
Affichage 1-5 de 5 article(s)

Filtres actifs

  • Matière: INOX A4 
  • DIN / ISO: 444 
  • Longueur: 70 

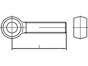
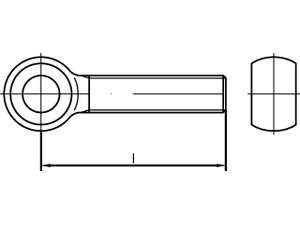
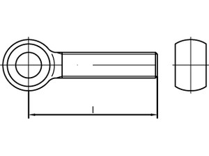
VIS A OEIL DIN 444 FORME B INOX A4 M 10 x 70

Prix 373,59 € / 100 pièces

VIS A OEIL DIN 444 FORME B INOX A4 M 12 x 70

Prix 591,34 € / 100 pièces

VIS A OEIL DIN 444 FORME B INOX A4 M 16 x 70

Prix 1 046,01 € / 100 pièces

VIS A OEIL DIN 444 FORME B INOX A4 M 20 x 70

Prix 1 702,85 € / 100 pièces

VIS A OEIL DIN 444 FORME B INOX A4 M 8 x 70

Prix 343,72 € / 100 pièces
Affichage 1-5 de 5 article(s)
Retour en haut 
BM Fixations

04 77 60 10 73

469 route de Charlieu - 42460 Cuinzier

  • Livraison
  • Mentions légales
  • Conditions d'utilisation

Newsletter

Je m'inscris pour recevoir les dernières actualités

© BM Fixations 2020 - www.oz-media.com