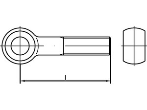
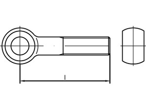
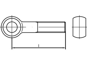
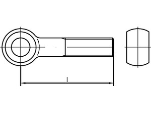
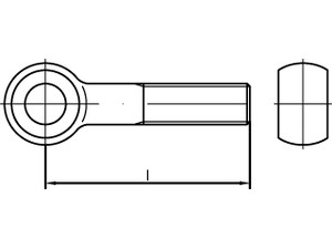
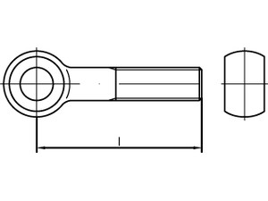
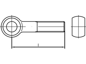
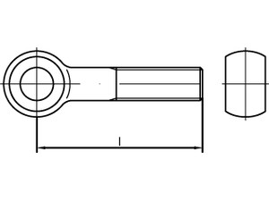
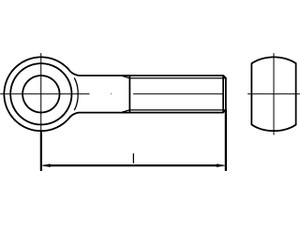
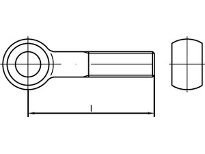
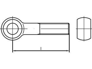
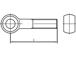
VIS A OEIL DIN 444 FORME B ACIER CL 4.6 BRUT M 16 x 100
Prix
346,15 €
/ 100 pièces
Filtrer les résultats
Il y a 74 produits.