Catégorie : Nos produits

Filtrer les résultats

Filtres actifs

  • Finition: ZINGUE BLANC
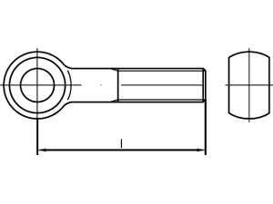
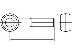
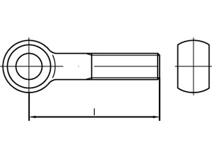
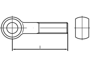
  • DIN / ISO: 444
  • Longueur: 80