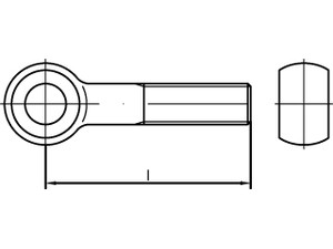
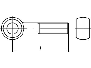
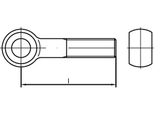
VIS A OEIL DIN 444 FORME B ACIER CL 4.6 ZINGUEM 10 x 140
Prix
235,76 €
/ 100 pièces
Filtrer les résultats
Il y a 11 produits.