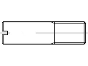
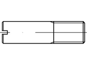
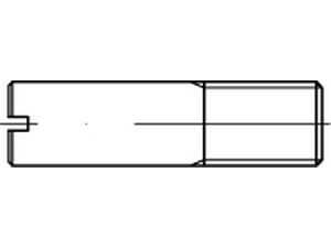
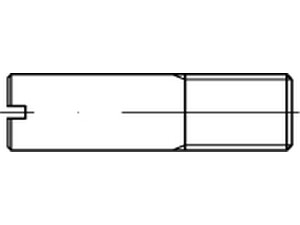
VIS SANS TETE FENDUE FILETAGE PARTIEL DIN 427 ACIER BRUT 14HM 10 x 30
Prix
36,10 €
/ 100 pièces
Filtrer les résultats
Il y a 12 produits.