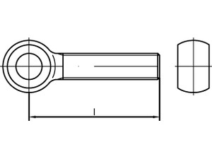
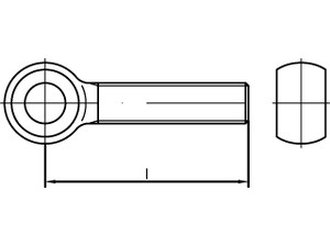
VIS A OEIL DIN 444 FORME B ACIER CL 4.6 BRUT M 10 x 35
Prix
107,78 €
/ 100 pièces
Filtrer les résultats
Il y a 12 produits.