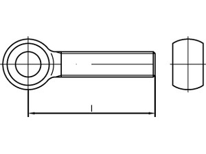
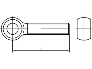
VIS A OEIL DIN 444 FORME B ACIER CL 4.6 BRUT M 10 x 60
Prix
118,06 €
/ 100 pièces
Filtrer les résultats
Il y a 26 produits.