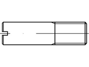
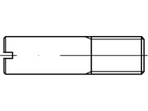
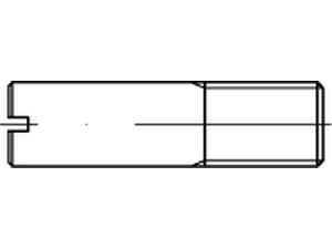
VIS SANS TETE FENDUE FILETAGE PARTIEL DIN 427 ACIER BRUT 14HM 3 x 12
Prix
7,03 €
/ 100 pièces
Filtrer les résultats
Il y a 8 produits.