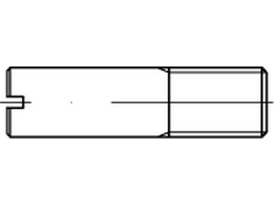
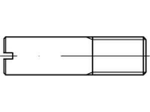
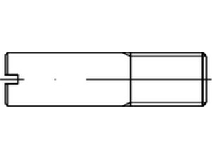
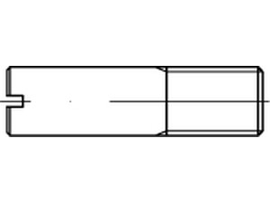
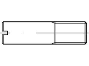
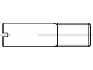
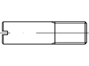
VIS SANS TETE FENDUE FILETAGE PARTIEL DIN 427 ACIER BRUT 14HM 4 x 16
Prix
6,98 €
/ 100 pièces
Filtrer les résultats
Il y a 9 produits.