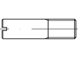
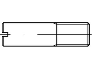
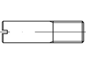
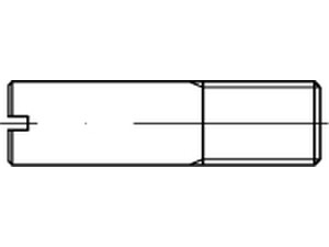
VIS SANS TETE FENDUE FILETAGE PARTIEL DIN 427 ACIER ZINGUE 14H M 8 x 25
Prix
23,22 €
/ 100 pièces
Filtrer les résultats
Il y a 11 produits.