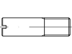
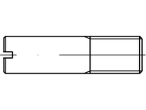
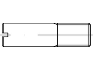
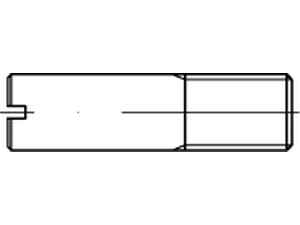
VIS SANS TETE FENDUE FILETAGE PARTIEL DIN 427 ACIER BRUT 14HM 10 x 35
Prix
35,63 €
/ 100 pièces
Filtrer les résultats
Il y a 7 produits.