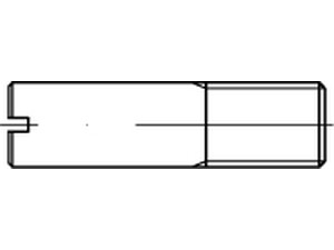
VIS SANS TETE FENDUE FILETAGE PARTIEL DIN 427 ACIER BRUT 14HM 10 x 40
Prix
36,15 €
/ 100 pièces
Filtrer les résultats
Il y a 8 produits.