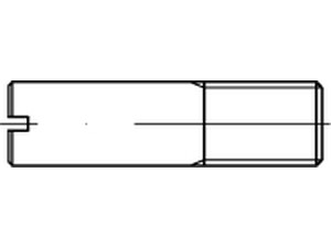
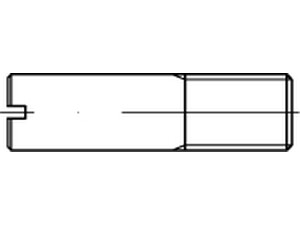
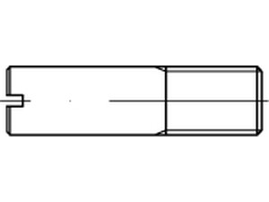
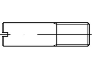
VIS SANS TETE FENDUE FILETAGE PARTIEL DIN 427 ACIER BRUT 14HM 10 x 50
Prix
52,41 €
/ 100 pièces
Filtrer les résultats
Il y a 6 produits.