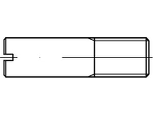
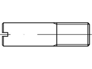
VIS SANS TETE FENDUE FILETAGE PARTIEL DIN 427 ACIER BRUT 14HM 3 x 8
Prix
6,65 €
/ 100 pièces
Filtrer les résultats
Il y a 4 produits.