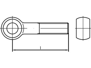
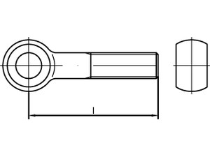
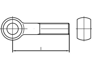
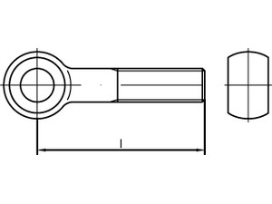
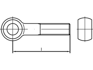
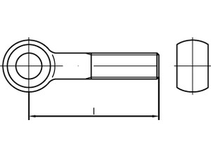
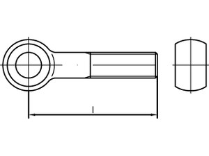
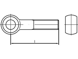
VIS A OEIL DIN 444 FORME B ACIER CL 4.6 BRUT M 10 x 130
Prix
159,11 €
/ 100 pièces
Filtrer les résultats
Il y a 16 produits.