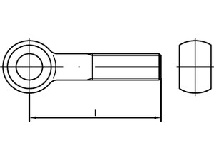
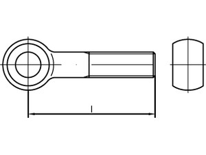
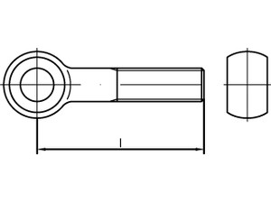
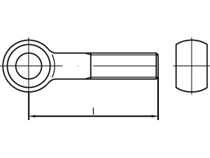
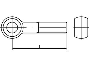
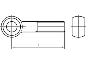
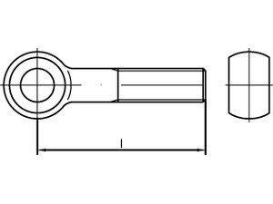
VIS A OEIL DIN 444 FORME B ACIER CL 4.6 BRUT M 10 x 140
Prix
174,52 €
/ 100 pièces
Filtrer les résultats
Il y a 18 produits.