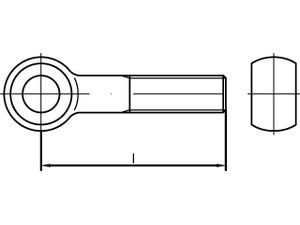
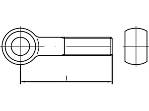
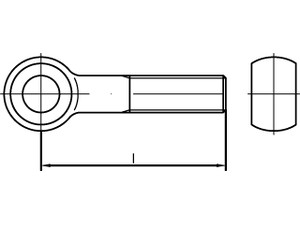
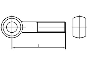
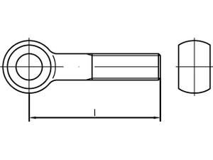
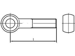
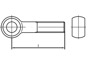
VIS A OEIL DIN 444 FORME B ACIER CL 4.6 BRUT M 10 x 65
Prix
120,61 €
/ 100 pièces
Filtrer les résultats
Il y a 10 produits.