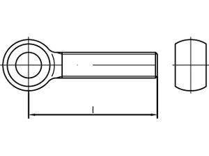
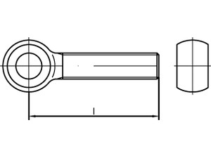
VIS A OEIL DIN 444 FORME B INOX A2 M 12 x 150
Prix
637,15 €
/ 100 pièces
Filtrer les résultats
Il y a 4 produits.